Подвесные полки: быстро и практично
Конструктивно вполне реально выполнить своими руками любой вариант такого приспособления для гаража:
- Настенные полки можно оборудовать как в открытом, так и в закрытом исполнении. Удобны своей вместительностью, а также простотой возведения. Их можно подвесить на петлю или с помощью анкера. В первом случае получается разборная конструкция, расположение которой удобно поменять в любой момент. Во втором – полка приобретает дополнительную прочность за счет надежности монтажа ссо стеной.

Подвесные полки крепятся к потолку. Благодаря особенностям своего расположения они занимают именно ту часть пространства, которая не используется, и совершенно не мешают авто. К недостаткам конструкции можно отнести ее недостаточную надежность – может немного раскачиваться при соприкосновении. Тем не менее, для небольших предметов (молоток, пассатижи, шуруповерт, краска и т.п.) вполне сгодится.

Интересный вариант хранения инструментов – сделать одну стену или ее фрагмент в виде щитка. Щит крепится с помощью анкеров, а далее на него подбираются и монтируются полки небольших размеров.

Щит можно соорудить и самостоятельно из деревянных брусьев, как показано на фото.

СОВЕТ. Такой щит лучше расположить с той же стороны, с которой будет стоять верстак, чтобы все инструменты были в буквальном смысле под рукой.
Для хранения габаритных предметов небольшой массы можно сконструировать подвесные полки, которые прикрепить под потолок с помощью шпилек.

Чтобы изготовить своими руками эти приспособления для размещения полезных предметов в гараже, понадобятся следующие материалы и инструменты:
шпильки и основа полки – чаще всего используется фанера или ДСП, толщина которых зависят от предполагаемых нагрузок;

большие анкера (из расчета 4 единицы на 1 полку);

гайки шестигранные и обычные;
шайбы плоские и специальные шайбы Гровера (из расчета 4 единицы на 1 полку.
Из инструментов понадобится стандартный набор, описанный выше. Последовательность действий следующая:
- Рассчитываются и выпиливаются полки соответствующих размеров. Их лучше сразу обработать грунтовкой и лаками и дать полностью просохнуть.
- На них делаются разметки для крепления. В случае, если полка будет длинной, несущие опоры нужно располагать на расстоянии не более 60 см.
- Торцы фанеры лучше усилить металлическим профилем, чтобы обеспечить максимальную надежность конструкции.
- С краев отмечаются пазы, в которые будут монтироваться шпильки. Их следует разместить как минимум на 5-7 см с запасом от края, чтобы древесина не раскрошилась во время длительных нагрузок.
- Все пазы и отверстия просверливаются, затем вдоль стены и/или потолка намечаются будущие места креплений.
- Отверстия на стене также высверливаются, после чего в них до упора входят анкера.
- Шпильки соединяются с анкерами, как показано на фото.

Наконец, одевается сама полка и закрепляется с помощью обычных шайб и шайб Гровера.
Уровнем проверяется правильность расположения в случае необходимости вносятся коррективы.
Схематично вся технология показана на рисунке.
Технология изготовления своими руками такого приспособления для гаража имеет свои отличия по сравнению с монтажом обычных полок:
- Сам щит изготавливается из прочной фанеры, параметры которого выбираются по ситуации. Визуально щит должен полностью перекрывать поверхность рабочего стола.
- На щите выделяется место для всех полок и делаются соответствующие пометки.
- Далее в поверхности конструкции проделываются все отверстия, в которые входят дюбеля. Именно на них будут крепиться крючки, на которых разместятся все инструменты.
- Крепление щита к стене осуществляется с помощью кронштейнов. Соответствующие отверстия изготавливаются с помощью перфоратора.
Схематично все шаги отражены на рисунке.
Как можно обустроить гараж?
Для начала рассмотрим несколько вариантов эргономичного использования и оформления дизайна внутреннего пространства гаража:
- Гаражный бокс по своей внутренней конфигурации в 99% случаев имеет прямоугольную форму. Соответственно, расстояние от автомобиля до боковых стен не очень велико и не является комфортным для проведения каких-то работ. Самым распространенным вариантом обустройства является вынос рабочей зоны (верстака, стеллажей или шкафов с инструментами и запчастями) в заднюю часть гаража, к стене, противоположной воротам. В этой зоне может хватить места даже для установки какого-либо необходимого оборудования, помимо верстака.
- Если в гараже большого размера есть дополнительное помещение (подсобка, электрощитовая), то на поверхности ее двери можно организовать хранилище инструментов с помощью навесного полотна или набить на нее держатели в виде петель разного размера из пластика и обычных веревок.


- Простейший вариант: если в гараже не удается установить стеллаж, можно на некотором расстоянии от стены разместить металлическую решетку. На нее можно развесить практически любые предметы, одежду и тому подобные вещи. Даже полки монтировать не придется.
- Другой выход из положения – прикрепить крючки к любой поверхности. Их мало в гараже просто не бывает. Изготовить их можно самостоятельно, а можно и приобрести в супермаркете. Значительная экономия свободного пространства гарантирована.


Используем современные технологии
Современному поколению повезло, ведь у нас есть то, о чем наши отцы и деды даже мечтать не могли. Не стоит игнорировать технический прогресс, ведь некоторые новые разработки способны существенно облегчить жизнь.


Умный выключатель
Главная проблема многих гаражей – неудобное расположение выключателей. К ним невозможно дотянуться, не завалив при этом какой-нибудь ящик, лопату или коробку с инструментами. Проблему эту современные разработчики уже давно решили. Для этого был придуман умный цоколь.
REDMOND SkySocket, дополненный энергосберегающей лампой, позволяет включать освещение еще на подъезде к гаражу. Им можно управлять прямо с экрана своего смартфона через приложение Ready for Sky.

Сверхбезопасная розетка
Многим знакома проблема, когда розетка не выдерживает нагрузки из-за того, что используется сразу несколько электрических приборов на постоянной основе. Чтобы можно было сверлить, монтировать и освещать комнату, не боясь возникновения пожара, нужно купить «умную» розетку.
Прибор REDMOND SkyPlug 100S контролируется с экрана смартфона. И как только нагрузка повышается, он автоматически отключается. Можно также настроить розетку и так, чтобы она прекращала работать, как только все покидают гараж.

Продуманная защита
Еще один интересный лайфхак – продуманная защита гаража. Чтобы не бояться атаки воров, нужно установить надежную защитную систему, например, трекер REDMOND RFT-08S. С его помощью можно (все так же с экрана смартфона) контролировать, кто входит в гараж и покидает его. Дополнительно можно настроить приложение и так, чтобы оно контролировало движение автомобиля. Таким образом, получается дополнительное противоугонное средство.
А тем, кто вечно теряет ключи, понравится возможность находить их, нажимая всего одну кнопку. Она показывает на экране смартфона расстояние до заветного брелка и оповещает владельца звуковым сигналом о том, что ключи найдены.

Заботливый вентилятор
Последняя из современных новинок – REDMOND SkyFan RAF-5005S. Этот вентилятор точно заслуживает места в современном гараже. В отличие от большинства аналогов, он не гоняет ветер попусту. Если правильно настроить систему, то он сможет позаботиться о поддержании идеального микроклимата в гараже. Включать и выключать его тоже можно заранее.

Помимо этих идей для организации гаражной зоны или пространства под мастерскую, конечно же, есть и другие. Кроме того, всегда можно придумать что-то свое, обустраивая пространство с учетом собственных пожеланий.

10фотографий
Еще больше идей по обустройству гаража смотрите в следующем видео.
Оригинальные идеи по организации пространства в гараже
И напоследок – фотоподборка наглядных идей по созданию вместительных конструкций из самых разных предметов, которые наверняка найдутся в любом гараже.
Приведение в порядок гаражного пространства начинается с глобальных изменений. Первым делом нужно разделить пространство на отдельные зоны и разбираться с каждой из них отдельно. Освободить место под столики, стеллажи или другие крупногабаритные вещи можно сразу несколькими способами.
- Фанерные панели для вертикального хранения. Если просверлить в обычной фанере несколько разных отверстий, то в них можно будет хранить инструменты: отвертки, плоскогубцы, гаечные ключи и т. д.
- Перфорированная панель. Если хочется, чтобы все было организовано более красиво и аккуратно, то стоит выбрать именно перфорированную панель. За небольшие деньги можно получить уникальную доску с набором крючков и лотков, в которых очень удобно хранить все те мелочи, которые так часто теряются в окружающем хаосе.
- Контейнеры из труб. Более крупные инструменты, например, садовый инвентарь можно хранить в специальным образом обрезанных ПВХ-трубах. Для создания удобного и многофункционального контейнера достаточно просто разрезать трубу на несколько равных кусков и закрепить их на стенке. В одну трубу, в зависимости от диаметра, поместится сразу несколько инструментов.
- Еще один полезный лайфхак, идущий отдельным пунктом, – использование многофункциональных вещей. Столик в гараже может одновременно использоваться и как подставка или стул, а смотровая яма может быть оборудована полками в нишах. Удобны и раскладные конструкции, например, столешница на петлях, которую легко убрать одним движением.
Создание полезных приспособлений для гаража своими руками
Чтобы осуществлять ремонтные и сервисные работы, потребуется соорудить смотровую яму в гараже своими руками, размеры которой будут соответствовать габаритам авто, а также верстак для удобной работы, плюс снабдить помещение станками.
Основной набор инструментов и материалов для создания самодельного верстака для гаража включает:
- доски и деревянные бруски;
- крепежные элементы и стяжки;
- рубанок и другие инструменты для обработки дерева;
- лакирующий и столярный клеевые составы;
- наждачную бумагу и олифу.

Пример размещения в гараже полезных приспособлений: 1 — верстак с ручными станками, 2 — стеллажи и шкафы, 3 — стол для проведения различных ремонтных работ, 4 — полка для хранения шин, 5 — смотровая яма
Технология изготовления верстака в гараже своими руками: фото, чертежи
Верстак состоит из столешницы и подстолья, а также нескольких устройств зажимного типа. Высоту верстака в гараже следует подбирать с учетом собственного роста. Можно взять в качестве ориентира высоту кухонного стола в доме, за которым удобно работать. Обязательно составьте для создания верстака для гаража своими руками чертежи.
Обустройство гаража: как сделать верстак в помещении:
| Этап работы | Детали, размер в см | Тип крепления |
| Сборка столешницы | 20 досок (5х10х200) с пазами 2,5х2,5 в 5-ом и 16-ом элементе (шаг 25) | Клеевой состав металлические стяжки |
| Сушка | — | — |
| Изготовление ножек (4 шт.) | Брусок (10х10х80) с пазами под кронштейны на передних опорах | Кронштейны |
| Сборка основания подстолья | Рамы (2 шт.) из досок (5х10) | Соединение «в шип» на глубину 2,5 см и болты |
| Фиксация боковых и задних опорных стенок | Плиты ДСП (толщина 10 мм) | Шурупы |
| Фиксация столешницы к верхней раме | — | Болты |
Заключительная обработка предполагает пропитку готового изделия олифой и вскрытие лаком.
Рекомендации по созданию смотровой ямы в гараже своими руками
Не существует определенных размеров смотровой ямы в гараже. В качестве основы берутся габариты автомобиля.
Как сделать смотровую яму в гараж с оптимальными параметрами:
Ширина подбирается с тем расчетом, чтобы внутри было достаточно места для работы. Размер ограничен расстоянием, на которое посажены колеса авто. Каждое колесо нуждается в небольшой площади для выполнения маневров. Средняя ширина ямы составляет 0,8 м.
Длина ямы ограничивается длиной машины. К этому показателю следует добавить 1 м.
Для расчета глубины используется рост владельца гаража. К нему прибавляется еще 10-15 см.
Как правильно сделать смотровую яму в гараж с использованием разных материалов:
| Материал | Толщина стенок, см |
| Керамический кирпич | 12-25 |
| Бетон | 15 |
| Строительные блоки | 20 |
Котлован вырывается с учетом оптимальной ширины ямы, материала, выбранного для стенок, а также толщины гидроизоляционного слоя. Этапы создания ямы:
- разметка;
- строительство котлована;
- обустройство котлована;
- строительство стен;
- прокладка освещения.
Для гидроизоляции стен применяется специализированная гидрофобная пропитка.

Схема обустройства смотровой ямы: 1 — стенки из пеноблоков, 2 — гидроизоляция, 3 — бутовая кладка. 4 — уголок размером 50х50х4 мм
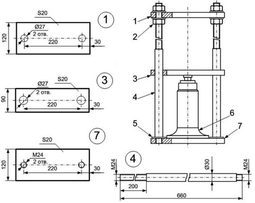
Изготовление пресса для гаража своими руками
Для создания пресса следует изготовить из 4 отрезков металлических труб каркас размером 178х80 см. Эти элементы соединяются методом сварки. В работе рекомендуется руководствоваться чертежами, заранее подобранными или составленными. После этого нужно установить:
- фиксатор;
- съемный упор;
- бутылочный домкрат (гидравлический).
Можно использовать для рассмотрения подробной технологии создания полезных приспособлений для гаража своими руками видео-материалы. Такие наглядные рекомендации помогают сориентироваться в размерах, освоить пошаговые инструкции и представить, какой внешний вид должна иметь готовая конструкция.

Схема изготовления гидравлического пресса: 1 — верхняя силовая платформа, 2 — гайки, 3 — нижняя платформа, 4 — шпильки диаметром 30 мм, 5 — нижняя резьба шпилек, 6 — гидравлический домкрат бутылочного типа; 7 — основание толщиной 20 мм
Обустройство гаража можно сделать собственными руками. На этом список полезных приспособлений не заканчивается. Его всегда можно дополнить любыми интересными идеями. Главное, чтобы гараж полностью соответствовал личным требованиям в отношении комфорта и удобства.
https://youtube.com/watch?v=D1BKvgCBg8Q
Как правильно организовать внутреннее пространство гаража
Учитывая тот факт, что количество вещей в гараже со временем будет прибавляться, стоит рационально использовать стены, пол, подвальное помещение (при его наличии) оснастив их максимальным количеством полочек, крючков, стеллажей. Для людей мастеровитых определяют рабочее место, оборудуют его в соответствии с потребностями.
Хранение крупногабаритных вещей
Все предметы, занимающие пространство гаража условно разделяют по нескольким характеристикам: крупные и мелкие, требующиеся постоянно или используемые один – два раза за год. В зависимости от этого перед началом обустройства пространства прорабатывают список крупных вещей не частого использования, к которым относят:
- зимние, летние колеса;
- велосипеды;
- лыжи.

Вариант полки для хранения велосипеда в гараже
Список может быть более длинным, возможно владелец гаража любит слесарить , тогда в его арсенале обязательно будут длинные трубы (пластиковые и металлические) разного сечения, бруски и доски. Для компактного упорядоченного хранения крупногабаритных вещей используют гаражные самодельные или покупные приспособления, например:
- Приобретают настенные держатели для велосипедов, которые позволяют хранить их в вертикальном положении, что обеспечивает существенную экономию места;
- Для комплектов резины обустраивают специальные полочки, на которых каждое колесо лежит отдельно. Их располагают в любом удобном месте, например, под потолком, вдоль стены или, захватывая угловое пространство, либо подвешивают к потолку или стене на соответствующую опору, предварительно очистив от грязи, упаковав в специальные чехлы. Такой способ хранения покрышек подходит только для комплектов на дисках. Рассматривая случаи, когда хранятся шины без дисков, сваривают из металла стеллаж, на котором покрышки стоят вертикально в один ряд. Располагают приспособление под потолком, либо на полу, надежно закрепив его;
- При помощи самодельных креплений, обеспечивают компактное расположение лыж, лыжных палок и другого спортивного инвентаря.
Кроме того, умельцы делают разные подвесные потолочные конструкции, расположенные параллельно полу, для размещения длинных предметов, например обрезков труб или брусьев.
Приспособления для мелочевки

Стенд для инструментов
У многих умельцев количество разнокалиберных винтиков, гаек, болтов, шайб измеряется кучей коробочек и ведрышек, в которых найти нужную деталь крайне сложно. Для решения вопроса, придуманы такие приспособы для гаража, которые позволяют упорядочить мелочевку и обеспечить быстрое нахождение нужной детали, например:
- специальные переносные ящички с отделениями. Удобный вариант, позволяющий не только хранить, но и переносить требуемые детали при необходимости. Следует учесть, что стоимость ящичков относительно высока, потому снизить расходы помогут идеи, предложенные ниже;
- умельцы сортируют мелкие гайки и прочие детали по баночкам с закручивающимися крышками, при этом сами крышки надежно прикрепляют к подвесным полкам. Остается лишь вкрутить банку в крышку и детали всегда будет на виду, под рукой.
При наличии финансовых возможностей приобретают компактные системы хранения для метизов, гаек и других деталей, разных по габаритам, отличающихся возможностям крепления.
Хранение инструментов
Рабочий инструмент подразделяют на крупногабаритный и малогабаритный, соответственно самодельные приспособления для гаража будут разными. В большинстве случаев, отрезную машинку, перфоратор, другие крупные инструменты владельцы предпочитают хранить, используя «родные» ящички. Поэтому для их удобного расположения вдоль стены делают стеллаж из подручных материалов, учитывая общую нагрузку на полки (для самодельных конструкций вес не должен превышать 150 кг).
Для мелких инструментов, таких как ключи, отвертки, плоскогубцы и другие организуют пространство в зависимости от их количества:
- наборы хранят в приобретенных ящичках, располагая на стеллаже;
- для единичных наименований обустраивают либо шкафчики, в которых каждый инструмент закреплен в соответствующей нише, либо подготавливают перфорированную поверхность (как в магазине), закрепленную на стене и определяют конкретное место для каждого из инструментов.
Некоторые умельцы, размещают свой инструмент, используя конструкции из пластиковых труб, в которых делают отверстия соответствующего диаметра.
Как правильно организовать внутреннее пространство гаража
Учитывая тот факт, что количество вещей в гараже со временем будет прибавляться, стоит рационально использовать стены, пол, подвальное помещение (при его наличии) оснастив их максимальным количеством полочек, крючков, стеллажей. Для людей мастеровитых определяют рабочее место, оборудуют его в соответствии с потребностями.
Хранение крупногабаритных вещей
Все предметы, занимающие пространство гаража условно разделяют по нескольким характеристикам: крупные и мелкие, требующиеся постоянно или используемые один – два раза за год. В зависимости от этого перед началом обустройства пространства прорабатывают список крупных вещей не частого использования, к которым относят:
- зимние, летние колеса;
- велосипеды;
- лыжи.
Вариант полки для хранения велосипеда в гараже
Список может быть более длинным, возможно владелец гаража любит слесарить , тогда в его арсенале обязательно будут длинные трубы (пластиковые и металлические) разного сечения, бруски и доски. Для компактного упорядоченного хранения крупногабаритных вещей используют гаражные самодельные или покупные приспособления, например:
- Приобретают настенные держатели для велосипедов, которые позволяют хранить их в вертикальном положении, что обеспечивает существенную экономию места;
- Для комплектов резины обустраивают специальные полочки, на которых каждое колесо лежит отдельно. Их располагают в любом удобном месте, например, под потолком, вдоль стены или, захватывая угловое пространство, либо подвешивают к потолку или стене на соответствующую опору, предварительно очистив от грязи, упаковав в специальные чехлы. Такой способ хранения покрышек подходит только для комплектов на дисках.
Рассматривая случаи, когда хранятся шины без дисков, сваривают из металла стеллаж, на котором покрышки стоят вертикально в один ряд. Располагают приспособление под потолком, либо на полу, надежно закрепив его; - При помощи самодельных креплений, обеспечивают компактное расположение лыж, лыжных палок и другого спортивного инвентаря.
Кроме того, умельцы делают разные подвесные потолочные конструкции, расположенные параллельно полу, для размещения длинных предметов, например обрезков труб или брусьев.
Приспособления для мелочевки
Стенд для инструментов
У многих умельцев количество разнокалиберных винтиков, гаек, болтов, шайб измеряется кучей коробочек и ведрышек, в которых найти нужную деталь крайне сложно. Для решения вопроса, придуманы такие приспособы для гаража, которые позволяют упорядочить мелочевку и обеспечить быстрое нахождение нужной детали, например:
- специальные переносные ящички с отделениями. Удобный вариант, позволяющий не только хранить, но и переносить требуемые детали при необходимости. Следует учесть, что стоимость ящичков относительно высока, потому снизить расходы помогут идеи, предложенные ниже;
- умельцы сортируют мелкие гайки и прочие детали по баночкам с закручивающимися крышками, при этом сами крышки надежно прикрепляют к подвесным полкам. Остается лишь вкрутить банку в крышку и детали всегда будет на виду, под рукой.
При наличии финансовых возможностей приобретают компактные системы хранения для метизов, гаек и других деталей, разных по габаритам, отличающихся возможностям крепления.
Хранение инструментов
Рабочий инструмент подразделяют на крупногабаритный и малогабаритный, соответственно самодельные приспособления для гаража будут разными. В большинстве случаев, отрезную машинку, перфоратор, другие крупные инструменты владельцы предпочитают хранить, используя «родные» ящички. Поэтому для их удобного расположения вдоль стены делают стеллаж из подручных материалов, учитывая общую нагрузку на полки (для самодельных конструкций вес не должен превышать 150 кг).
Для мелких инструментов, таких как ключи, отвертки, плоскогубцы и другие организуют пространство в зависимости от их количества:
- наборы хранят в приобретенных ящичках, располагая на стеллаже;
- для единичных наименований обустраивают либо шкафчики, в которых каждый инструмент закреплен в соответствующей нише, либо подготавливают перфорированную поверхность (как в магазине), закрепленную на стене и определяют конкретное место для каждого из инструментов.
Некоторые умельцы, размещают свой инструмент, используя конструкции из пластиковых труб, в которых делают отверстия соответствующего диаметра.
Как сделать стеллажи?
Стеллаж – одно из наиболее распространенных рациональных решений организации свободного пространства при размещении вещей в ограниченном объеме дома или гаражного бокса. Поверхности стен бокса так и призывают прислонить к ним стеллаж или укрепить десяток-другой полок и сложить на них самые разнообразные предметы: от рыболовных принадлежностей и одежды до лодочного мотора и запасного блока цилиндров двигателя.

Стеллаж для гаража можно приобрести в торговых сетях – это вариант, почти не требующий энергозатрат. Монтаж/демонтаж подобных конструкций элементарен и не требует высокой квалификации слесаря-сборщика.
Отлично подойдет для всех категорий владельцев гаражей, но достаточно дорог и потребует вложения определенного капитала.

Вместо выдвижных ящиков, вполне можно применить обычные пластиковые канистры. Канистра располагается горизонтально, а за ручку, которая оказалась впереди, ее вытаскивают и возвращают на место.
Единственное, о чём не следует забывать – запрещается использовать канистры и другую тару из-под химически агрессивных, радиоактивных либо горючих веществ, которые могут нанести вред здоровью. Лучший вариант – канистра из-под питьевой воды.

Чтобы изготовить стеллаж из алюминия или другого металла самостоятельно, необходимо провести подготовку, снять размеры, рассчитать нагрузку и выбрать материал для изделия
Также следует принять во внимание, какие коммуникации проходят в том месте, где запланировано смонтировать стеллаж
- Сначала определяют внешние габариты изделия.
- Затем рассчитывают количество полок, их высоту. Имеет смысл делать их неодинаковой высоты, так как размеры предметов хранения варьируются.

- Секции слишком большой ширины делать нерационально – грузоподъемность полок резко уменьшится, возрастет возможность обрушения.
- Чертеж должен начинаться с наброска стеллажа, его схематического изображения с предварительными размерами, дающего общее понятие о том, что должно получиться в итоге.

- Следующим этапом будет нарезание вертикальных деталей.
- Все детали нарезаются на одну длину из цельного профиля либо уголка. Составлять их из отдельных частей не рекомендуется.

- Иногда в качестве стояков используют трубы металла или металлопластика.
- Материал для полок выбирают с учетом его прочности. Например, полки из ДСП и ДВП не выдержат значительного веса из-за своей относительной хрупкости.

- Проектируйте полки шириной не более 60 см.
- Наличие окантовки (бортика) у полки послужит сразу в двух направлениях – создаст дополнительное ребро жесткости и предотвратит падение мелких деталей.

- Сначала устанавливают вертикальные стойки. Способ крепления (к полу, потолку, стенам) следует продумать еще на этапе составления чертежа.
- При монтаже надо обязательно пользоваться уровнем во избежание перекосов.
- Полки крепят с помощью уголков.

Рассмотрим несколько полезных лайфхаков:
- Иногда для экономии места полки крепят прямо к потолку без использования вертикальных опор на пол. Навесные полки могут освободить место в нижнем ярусе гаражного бокса, но особой грузоподъемностью отличаться не могут. Складывать на них можно негабаритные, но легкие длинномерные рейки, пластиковые уголки, картонные трубы и т. п. Также их можно делать сетчатыми – тогда к ним крючками можно дополнительно что-то подвешивать.
- Еще один из популярных способов использования стены – устроить вместо стеллажа металлическую или пластиковую панель с креплениями (крючки, кронштейны и т. п. ), это очень сэкономит свободное пространство.
- Для создания небольшого зазора между стеной и панелью рекомендуется использование винных пробок, распиленных пополам.

Освещение

Для комфортного освещения нужно учитывать размеры помещения, число рабочих зон, цвет стен. Наиболее оптимальный вариант для гаража – система многоуровневого освещения. Это когда установлен центральный светильник и точечная подсветка рабочих зон.

Чтобы рассчитать мощность потолочного освещения, используем формулу P = S x W/N, где P – суммарная требуемая мощность, Вт/м2; W – мощность одного светильника, Вт; N – число ламп, шт.; S – площадь гаража, м2.

Оптимальный показатель светодиодных и галогенных светильников – 16–20 Вт/м2, если в помещении высота потолков – до 2,5 м. Если потолки выше – умножаем показатель на 1,5. Светодиодные лампы – самые экономичные, их рабочий ресурс может составлять 50 тыс. часов, и они выгоднее, чем люминесцентные на 50%.
Хранение шин и колес
Ни одного автовладельца не обойдет стороной проблема хранения несезонной «обуви» его транспортного средства. Куда положить шины, чтобы они не загромождали гаражное строение? Если воспользоваться идеями опытных автовладельцев, решить данную проблему не составит труда.
На выбор способа хранения шин съемников влияет характер их монтажа. Изделия с дисками стоит подвешивать за багажные ремни, цепи, металлические тросы с диаметром 4 мм или хранить лежа стопками. Крепления ремней должны быть качественными, надежными. Их организовывают под потолком на стеновой поверхности и фиксируют на расположенной сверху балке.
Как хранить шины в гараже?
Также можно вбить в стеновую поверхность штыри или крюки, изгиб которых не очень большой. Изделия монтируют с шагом, чуть большим, чем диаметр шины. Подбирайте такую длину штырей, что такие приспособления для гаража торчали над шиной все на 1-2 см, не более. Набивать их стоит не под самой потолочной поверхностью, а чуть ниже, чтобы колеса влезли без трудностей.
Шины без дисков складировать стопками нельзя: только стоя. Лучше организовать отдельные полки, сварив конструкцию из профилированной трубы 20х20 или 30х30 мм. Помимо этого, можно применить уголок. От использования круглой трубы стоит отказаться, так как она трудно поддается сварке инверторным сварочным аппаратом.
Сделайте из нее поперечины, чтобы шины легли и держались лучше.
Полки делайте следующих размеров.
| Параметры полки под шины без дисков | Советы специалистов |
| Ширина | 4-х кратная ширина шины + 15 см запаса |
| Высота | немного выше наружного диаметра колеса |
Полку повести на стену там, где на резину не будет падать свет, иначе она испортится.
